基本信息
1、办理部门:吉林省药品监督管理局
2、办理方式:窗口办理,网上办理,快递申请
3、办理地点:吉林省长春市南关区人民大街9999号吉林省政务服务中心B1层1-8号综合窗口
4、咨询电话:0431-81763137 CIO咨询:400-003-0818
受理条件
医疗器械生产企业
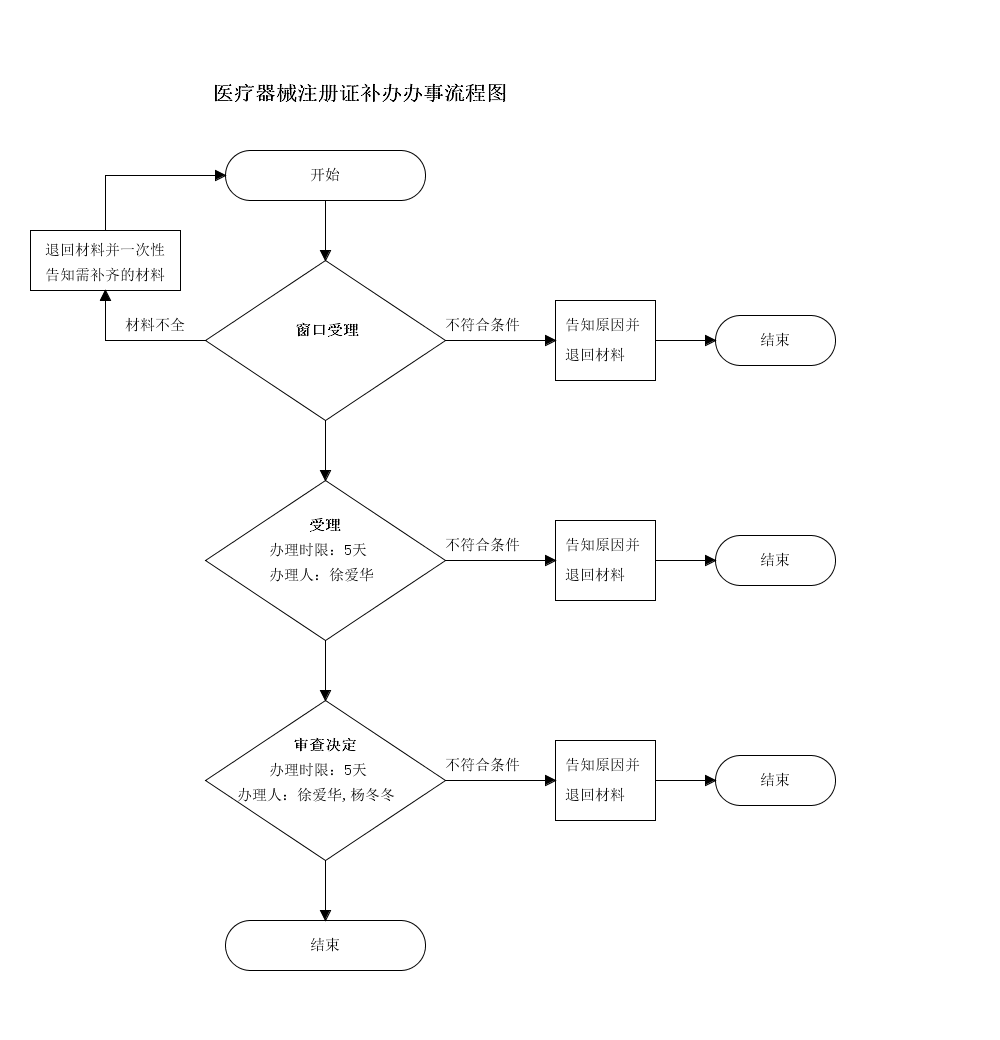
办理流程
流程文字说明
法定办理时限:20个工作日;承诺办理时限:10个工作日
1、受理(时限:5个工作日)
2、审查决定(时限:5个工作日)

申请材料
1、医疗器械说明书更改备案申请表;
2、产品说明书变更书面告知书;
3、授权书;
4、说明书更改情况对比表;
5、变更前说明书;
6、变更后说明书;
7、说明书变更其他相关文件。
结果样本
无
常见问题
问题1:需要哪些资料?
答:申请人可在吉林省网上办事大厅查询。
本办事指南摘自药监局官网,如有变动,以官方发布为准。





