基本信息
1、办理部门:吉林省药品监督管理局
2、办理方式:窗口办理,网上办理,快递申请
3、办理地点:吉林省长春市南关区人民大街9999号吉林省政务服务中心B1层1-8号综合窗口
4、咨询电话:0431-81763137 CIO咨询:400-003-0818
受理条件
医疗器械生产企业
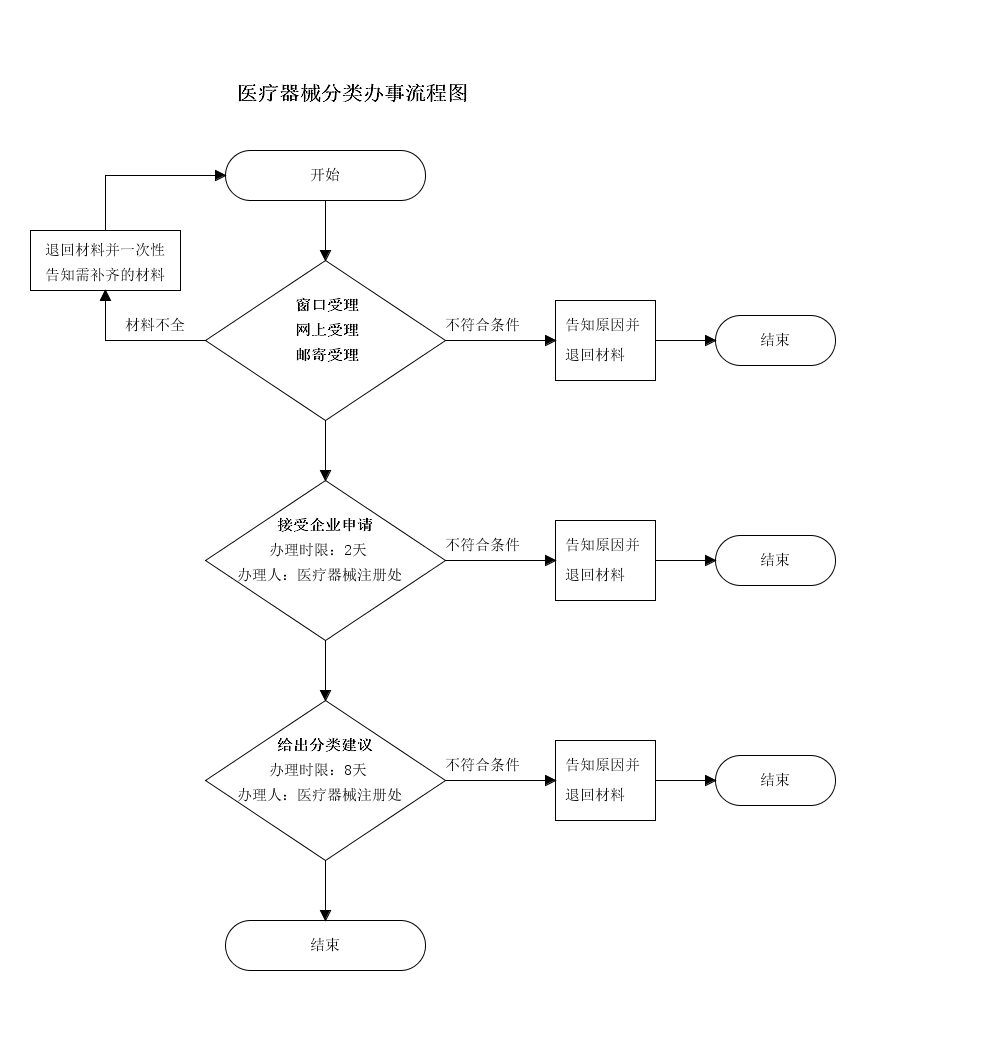
办理流程
流程文字说明
法定办理时限:20个工作日;承诺办理时限:10个工作日
1、接受企业申请(时限:2个工作日)
2、给出分类建议(时限:8个工作日)

申请材料
1、医疗器械分类界定登记表;
2、产品照片或产品结构图;
3、产品技术要求;
4、境外上市佐证材料;
5、说明书和标签样稿;
6、其他产品分类界定材料;
7、真实性声明。
结果样本

常见问题
问题1:需要哪些资料?
答:申请人可在吉林省网上办事大厅查询。
本办事指南摘自药监局官网,如有变动,以官方发布为准。





