E邀专家

各有关单位:
为推进医疗器械唯一标识实施,指导医疗器械注册人、备案人、经营企业、医疗机构开展医疗器械唯一标识实施应用工作,依据《医疗器械监督管理条例》等法规及国家药品监督管理局、国家卫生健康委员会、国家医疗保障局联合发布的有关医疗器械唯一标识实施工作的系列通知、公告及标准等文件规定,落实《北京市医疗器械唯一标识工作质量提升方案》,结-1-合我市实际,北京市药品监督管理局制定了《北京市医疗器械注册人备案人唯一标识实施指南》《北京市医疗器械经营企业唯一标识实施指南》《北京市医疗机构医疗器械唯一标识实施指南》,现予印发,请参照执行。
特此通知。
北京市药品监督管理局
2023年3月28日
附件:
1.《北京市医疗器械注册人备案人唯一标识实施指南》
2.《北京市医疗器械经营企业唯一标识实施指南》
3.《北京市医疗机构医疗器械唯一标识实施指南》
北京市医疗器械注册人备案人医疗器械唯一标识实施指南
一、目的和依据
为推进医疗器械唯一标识(以下简称UDI)实施,指导医疗器械注册人、备案人开展UDI实施应用工作,根据《医疗器械监督管理条例》《医疗器械注册与备案管理办法》《体外诊断试剂注册与备案管理办法》《医疗器械生产监督管理办法》《医疗器械经营监督管理办法》《医疗器械使用质量监督管理办法》《医疗器械唯一标识系统规则》,国家药品监督管理局、国家卫生健康委员会、国家医疗保障局发布的关于做好第一批、第二批、第三批实施UDI工作的公告及相关标准、通知等文件,落实《北京市医疗器械唯一标识工作质量提升方案》,根据实际,制定本指南。
二、适用范围
本指南可作为北京市医疗器械注册人、备案人实施应用UDI的指导文件,旨在增强医疗器械注册人、备案人对UDI相关知识的了解和掌握,为UDI实施应用提供实际操作指导,本指南不作为法规强制执行。
三、实施流程
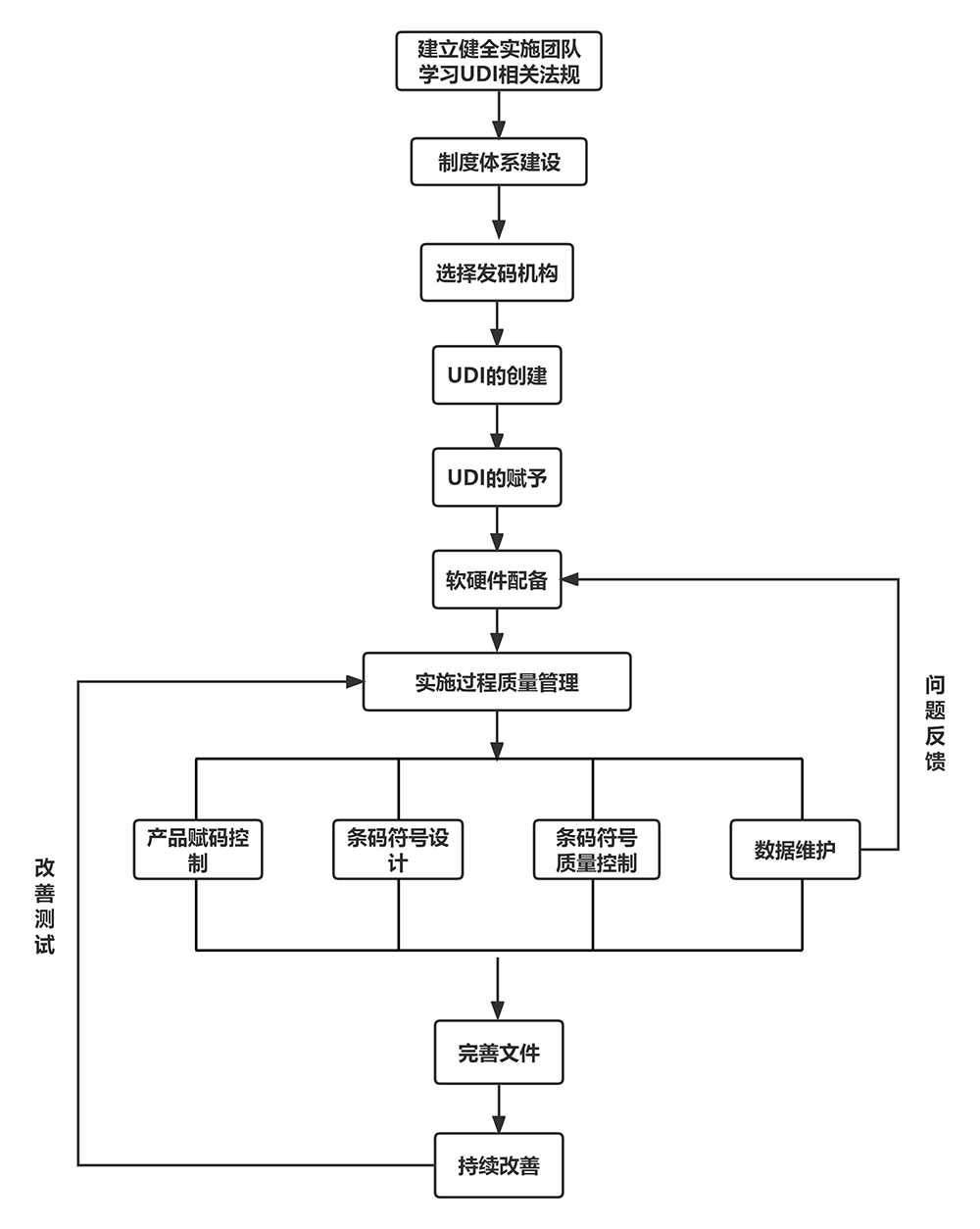
(一)建立健全UDI实施团队
组建由企业负责人为组长,生产、法规、注册、信息、质量体系、财务、物流(库存管理)等相关部门为组员的UDI推进工作组,学习和了解国家和地方的UDI相关政策法规及标准,参考附录(一)、(二)中的标准文件、相关网站资料及法规文件。为企业UDI推进工作提供组织和资源保障。
(二)制度体系建设
企业应在已有的制度和体系文件的基础上,将UDI实施需要变更与完善的内容更新到制度与文件中,特别是实施具体操作的重点环节,需要编制明确的作业指导文件。可参考“四、相关说明”中“(二)实施流程图”,编制实施流程图。
(三)具体实施步骤
1.选择发码机构
目前符合要求的发码机构有三家,分别是中国物品编码中心(GS1)、中关村工信二维码技术研究院(MA)、阿里健康科技(中国)有限公司(AHM)。企业根据发展需求从上述3家中任选1家。
2.UDI的创建
UDI的创建应符合YY/T 1879-2022《医疗器械唯一标识的创建和赋予》的要求,具体要求如下:
(1)UDI应包括产品标识(UDI-DI)和生产标识(UDI-PI)。产品标识为识别注册人、备案人以及医疗器械型号规格和包装的唯一代码;生产标识由医疗器械生产过程相关信息的代码组成,根据监管和实际应用需求,可包含医疗器械序列号、生产批号、生产日期、失效日期等。
(2)应按所选择发码机构的编码规则创建UDI,如国家法规和标准另有规定的,从其规定。
(3)应为医疗器械的最小销售单元分配UDI,更高级别的包装(不含运输包装)应具有各自的UDI。
(4)应为医疗器械的各产品包装级别分配不同的UDI-DI,参见YY/T 1630-2018《医疗器械唯一标识基本要求》中表B.1,并在UDID中维护关联关系。
(5)当最小销售单元中包含多个相同的使用单元时,则应为使用单元分配UoU UDI-DI并存储在UDID中,以便将器械使用与患者相关联。
(6)UDI-DI应具备稳定性,医疗器械的基本特征未变化的,UDI-DI应保持不变,但如果出现的变化可能导致医疗器械的错误识别和/或可追溯性不明确,需要分配新的UDI-DI,例如包装中产品数量、是否为无菌包装和/或是否标记为一次性使用等发生变化。
(7)UDI-PI组成宜采用和标签内容保持一致的原则,例如医疗器械标签上包含医疗器械产品的生产批号、序列号、生产日期和失效日期中的一个或多个时,均建议作为UDI-PI的组成部分,其内容应当与标签上对应信息保持一致;如涉及日期的表述格式,应满足所选择发码机构编码规则要求。
(8)对于按照批次生产控制的医疗器械,考虑到应用场景,如需标识到单个产品,宜在UDI-DI和生产批号联合使用的基础上,添加序列号,或根据所选择发码机构编码规则添加其他的数据分隔符。
3.UDI的赋予
UDI数据载体,是指存储或者传输UDI的数据媒介。UDI数据载体应当满足自动识别和数据采集技术以及人工识读的要求。自动识别和数据采集技术包括一维码、二维码或者射频标签等形式。采用一维码时,可将产品标识和生产标识串联,也可多行并联;采用射频标签时,应当同时具备一维码或者二维码。
一维码是只在一维方向上表示信息的条码符号。应用多年已经很成熟,成本低,能很好兼容市面上现有的扫码设备,但一维码所占空间大,破损纠错能力差。
二维码是在二维方向上都表示信息的条码符号。相比于一维码,相同空间能够容纳更多的数据,在器械包装尺寸受限的时候能发挥很好的作用,具备一定的纠错能力,但对识读设备的要求相较于一维码要高。
射频标签是用于物体或者物品标识,具有信息存储功能,能接收读写器的电磁调制信号,并返回相应信号的数据载体。射频标签的载体成本和识读设备成本相较于一维码和二维码要高,但射频标签读取速度快,可以实现批量读取,在某些环节和领域能够发挥作用。
三种载体的区别在于数据存储量和识读方式的不同,无论载体采用什么形式,UDI的结构与编制方法不变。注册人、备案人可根据产品的特征、价值、主要应用场景等因素选择适当的UDI数据载体。
UDI的赋予应符合YY/T 1879-2022《医疗器械唯一标识的创建和赋予》的要求,具体要求如下:
(1)UDI赋予的要求不能替代现行法律、法规、规章对标记或标签的要求。
(2)应按照发码机构的标准或规范进行UDI的赋予,发码机构应提供其标准的数据载体规则,包括但不限于载体类型、尺寸、放置和载体质量的要求,以及对相应HRI表示形式的建议。
(3)UDI数据载体包括AIDC和HRI,HRI部分应包括数据分隔符,如空间有限或者使用受限,应优先采用AIDC的载体形式。
(4)为有利于流通和使用环节各方快速地寻找和定位UDI数据载体,宜使用ISO15223-1:2021《医疗器械用于制造商提供信息的符号第1部分:通用要求》中5.7.10所要求UDI图形符号标识包含UDI信息的数据载体,如使用,应符合ISO15223-1:2021《医疗器械用于制造商提供信息的符号第1部分:通用要求》的要求。
4.软硬件匹配
评估企业现有的软件系统是否需要更新升级来满足UDI实施的需求,包括:标签设计打印软件、生产管理软件系统、库存管理软件系统等需要应用UDI的软件。确认企业已有硬件设施是否满足软件系统的需要,包括:标签打印设备、标签载体信息读取设备、标识载体打印质量检测设备等。
软硬件评估满足UDI实施需求时,进行相关的系统应用测试,在测试过程中查找问题并予以解决,当应用顺畅无碍时可以进入实际应用阶段。
5.实施过程质量管理
(1)产品赋码控制
UDI应当具有唯一性、稳定性和可扩展性。
唯一性是确保产品精确识别的基础,是UDI发挥功能的核心原则。由于医疗器械产品的复杂性,唯一性应当与产品识别要求相一致,对于相同特征的医疗器械,唯一性应当指向单个规格型号产品;对于按照批次生产控制的产品,唯一性指向同批次产品;而对于采用序列号生产控制的医疗器械,唯一性应当指向单个产品。
稳定性是指UDI一旦分配给医疗器械产品,只要其基本特征没有发生变化,产品标识就应该保持不变。当医疗器械停止销售、使用时,其产品标识不得用于其他医疗器械;重新销售、使用时,可使用原产品标识。
可扩展性是指UDI应当与监管要求和实际应用不断发展相适应,“唯一”一词并不意味着对单个产品进行序列号化管理,在UDI中,生产标识可以和产品标识联合使用,实现规格型号、批次和/或单个产品三个层次的唯一性,从而满足当前和未来对医疗器械的识别需求。
(2)条码符号设计
赋码后条码符号的设计主要从尺寸大小、条空颜色搭配、条码符号放置的位置等方面考虑,满足所选择发码机构执行的相关国家标准或规范要求。
(3)条码符号质量控制
印制(打印)条码符号。为确保条码符号印刷(打印)质量、数据载体应用符合性和数据结构符合发码机构对应的规则,建议在批量印刷(打印)之前,先印制(打印)包装小样送到具有检测能力的机构进行检测,确定符号质量、数据载体应用符合性和数据结构符合发码机构对应的规则后再进行大批量印刷,从而达到控制条码质量的目的。为确保识读效果,建议条码符号印制质量等级≥1.5级(C级),可具体参考ISO/IEC 15416:2016《自动识别与数据采集技术条码符号印制质量检验规范一维条码》、ISO/IEC 15415:2011《信息技术自动识别和数据采集技术条码符号印制质量测试规范二维条码符号》和GB/T 23704-2017《二维条码符号印制质量的检验》等标准要求。
对于生产量大,标签种类多的企业建议购置专业设备自行检测控制。
(4)数据维护
企业应遵守法规规定:注册人、备案人应当按照相关标准或者规范要求上传、维护和更新唯一标识数据库中的相关数据,并对数据的真实性、准确性、完整性负责。
数据信息需要维护上传到国家医疗器械唯一标识管理信息系统。医疗器械唯一标识管理信息系统用户通过国家药品监督管理局网上办事大厅在线进行注册及账号绑定。操作方法详见:
https://zwfw.nmpa.gov.cn/web/index/help#reg,只有账号绑定后,才可以对医疗器械产品标识申报。申报登录网址:https://zwfw.nmpa.gov.cn/web/taskdir/corporate,选择医疗器械产品标识申报—在线办理;对基本信息维护后进行产品标识申报;进入标识导入管理可下载模板,在模板中填写资料可进行批量申报。可参考《医疗器械唯一标识管理信息系统-产品标识导入管理操作指导》后按指导进行导入。
(5)完善文件
根据企业实施UDI的需要完善相关文件,作为实施过程的制度、标准化程序、作业指导文件。
建议文件包含:UDI-DI的分配原则;UDI-PI的组成;追溯的管理;生产批号(序列号)的管理;标签条码的质量控制等。
(6)持续改善
UDI实施后,应当根据国家法规的最新要求和客户的最终需求,在符合《医疗器械唯一标识系统规则》与相应的法规、标准的基础上进行持续的改进与完善。
四、相关说明
(一)定义和缩略语
1.医疗器械唯一标识(UDI):基于标准创建的一系列由数字、字母和/或符号组成的代码,包括产品标识和生产标识,用于对医疗器械进行唯一性识别。
2.产品标识(UDI-DI):特定于某种规格型号和包装医疗器械的唯一性代码。
3.生产标识(UDI-PI):识别医疗器械生产过程相关数据的代码。
4.数据分隔符:在医疗器械唯一标识中,定义特定数据元素的字符或字符集。
5.使用单元产品标识(UoU UDI-DI):在医疗器械使用单元上没有医疗器械唯一标识的情况下,分配给单个医疗器械产品的产品标识,其目的是关联患者和医疗器械。
6.医疗器械唯一标识数据库(UDID):储存医疗器械唯一标识的产品标识与关联信息的数据库。
7.AIDC:自动识别和数据采集。
8.HRI:人工识读。
(二)实施流程图

五、附录
(一)相关标准
YY/T 1630-2018医疗器械唯一标识基本要求
YY/T 1681-2019医疗器械唯一标识系统基础术语
YY/T 1752-2020医疗器械唯一标识数据库基本数据集
YY/T 1753-2020医疗器械唯一标识数据库填报指南
YY/T 1879-2022医疗器械唯一标识的创建和赋予
GB/T 23704-2017二维条码符号印制质量的检验
GB/T 38155-2019重要产品追溯追溯术语
ISO15223-1:2021医疗器械用于制造商提供信息的符号第1部分:通用要求
ISO/IEC 15416:2016自动识别与数据采集技术条码符号印制质量检验规范一维条码
ISO/IEC 15415:2011信息技术自动识别和数据采集技术条码符号印制质量测试规范二维条码符号
(二)相关网站网址
国家药品监督管理局
https://www.nmpa.gov.cn/
国家药品监督管理局医疗器械标准管理中心行业标准查询
http://app.nifdc.org.cn/jianybz/jybzTwoGj.do?formAction=listTsDalid&type=qxtjbz&page=list_qxtjbz
国家标准全文公开系统查询
https://openstd.samr.gov.cn/bzgk/gb/index
医疗器械唯一标识管理信息系统(法人登录)
https://zwfw.nmpa.gov.cn/web/user/login
中国物品编码中心(GS1)
http://gs1cn.org/
统一标识代码注册管理中心(MA)
https://www.idcode.org.cn/
码上放心(AHM)
https://www.mashangfangxin.com/
北京市医疗器械经营企业医疗器械唯一标识实施指南
一、目的和依据
为推进医疗器械唯一标识(以下简称UDI)实施,指导医疗器械经营企业开展UDI实施应用工作,根据《医疗器械监督管理条例》《医疗器械注册与备案管理办法》《体外诊断试剂注册与备案管理办法》《医疗器械生产监督管理办法》《医疗器械经营监督管理办法》《医疗器械使用质量监督管理办法》《医疗器械唯一标识系统规则》,国家药品监督管理局、国家卫生健康委员会、国家医疗保障局发布的关于做好第一批、第二批、第三批实施UDI工作的公告及相关标准、通知等文件,落实《北京市医疗器械唯一标识工作质量提升方案》,根据实际,制定本指南。
二、适用范围
本指南可作为北京市医疗器械经营企业实施应用UDI的指导文件,旨在增强经营企业对UDI相关知识的了解和掌握,为UDI实施应用提供实际操作指导,本指南不作为法规强制执行。
三、实施流程
(一)建立健全UDI实施团队
组建由企业法定代表人或负责人为组长,由企业质量、物流和信息等相关人员为组员的UDI推进小组;学习和了解国家和地方的UDI相关政策法规、标准及实施方案,为企业UDI推进工作提供组织和资源保障。
制定本企业内部UDI实施应用相关管理制度并监督执行。
(二)质量管理体系要素策划
依据医疗器械经营质量管理规范(GSP)的法规框架,识别企业内部管理制度、人员培训、岗位职责、操作流程等相关管理内容,在业务开展流程中融入UDI要素,进行UDI体系升级。
1.首营环节:企业内部对已在UDI实施范围内的产品存量数据实现与国家药监局UDI数据库的对码映射。新增医疗器械产品在首营审核环节,收集UDI-DI标识,建立包含UDI-DI信息的医疗器械产品的主数据管理机制。
2.采购销售环节:在采购和销售业务开展过程中,医疗器械产品数据能够对应UDI-DI信息,可进行医疗器械产品的准确识别和查询。
3.入库、出库环节:针对出入库环节,做好带码入库、出库,实现产品在流通环节可追溯。鼓励使用自动扫描技术解析标签中的UDI标识信息。包括但不限于医疗器械产品名称、规格型号、批号或序列号、生产日期或失效日期等关键信息,提高仓储物流现场收发货管理效率和验收复核信息的准确性,同时为质量追溯以及召回、不良事件处理过程中的信息查询奠定数据基础。
4.库存管理环节:能够有效利用UDI信息,优化医疗器械商品库存的查询、盘点与日常管理。
5.可追溯管理:企业应对内部全流程的UDI信息进行记录,实现企业内部基于UDI的全过程可追溯。当发生医疗器械不良事件或者质量问题时,可以对医疗器械产品进行快速确定,提升召回效率,有效降低医疗器械使用安全风险。
6.质量疑问处理:在医疗器械经营环节的质量控制节点,通过标签识别等方式,发现UDI-DI或UDI-PI信息异常以及标识识读异常时,应及时与医疗器械注册人、备案人取得联系,以防止存在产品质量或标签质量隐患的产品继续流通。
(三)软件系统功能设置
识别医疗器械质量管理体系中UDI可融入环节,在企业内部信息化管理系统(如ERP、WMS等)中进行流程的固化和功能的设置,确保UDI在开展业务的采购、存储、销售等全过程进行实施应用,做到全程有码,全程用码。
1. 数据模块:鼓励企业实现内部医疗器械产品数据和国家UDI数据库的联通,并与国家UDI数据库数据保持动态更新。
2.UDI标签扫描模块:支持存储和记录符合要求的发码机构的UDI编码标识,做好出入库记录,并可进行校验核准。
3.记录单据:支持内部首营、采购、入库、出库、销售、退货等环节的UDI采集与记录,业务流程各环节中的UDI信息准确、真实、有效,并便于进行实时查询。
(四)硬件匹配性设置
根据企业自身情况,配备与企业规模适应数量的UDI标签识读扫码设备。扫码设备可支持扫描符合要求的不同发码机构、不同UDI载体的UDI标签,并符合发码机构和相关标准对数据输出格式、转码的要求。
(五)上下游协同
1.信息化联通:在UDI实施推进过程中,鼓励经营企业探索与上游厂家和下游客户基于UDI的电子订单应用,提升产业链数字化水平,降本增效。
2.信息反馈:在UDI实施推进过程中,当遇到国家UDI数据库或医疗器械产品UDI标识识读等问题,应积极向药品监管部门、医疗器械注册人、备案人或医疗机构反馈;并及时总结和输出UDI应用实践成果,配合其他UDI推进工作等。
四、相关说明
(一)定义和缩略语
1.医疗器械唯一标识(UDI):基于标准创建的一系列由数字、字母和/或符号组成的代码,包括产品标识和生产标识,用于对医疗器械进行唯一性识别。
2.产品标识(UDI-DI):特定于某种规格型号和包装医疗器械的唯一性代码。
3.生产标识(UDI-PI):识别医疗器械生产过程相关数据的代码。
4.企业资源计划(ERP):是将企业的三大流(物流,资金流,信息流)进行全面一体化管理的管理信息系统。
5.仓储管理系统(WMS):是一个实时的计算机软件系统,它能够按照运作的业务规则和运算法则,对信息、资源、行为、存货和分销运作进行更完美地管理,提高效率。
(二)实施流程图

北京市医疗机构医疗器械唯一标识实施指南
一、目的和依据
为推进医疗器械唯一标识(以下简称UDI)实施,指导医疗机构开展UDI实施应用工作,根据《医疗器械监督管理条例》《医疗器械注册与备案管理办法》《体外诊断试剂注册与备案管理办法》《医疗器械生产监督管理办法》《医疗器械经营监督管理办法》《医疗器械使用质量监督管理办法》《医疗器械唯一标识系统规则》,国家药品监督管理局、国家卫生健康委员会、国家医疗保障局发布的关于做好第一批、第二批、第三批实施UDI工作的公告及相关标准、通知等文件,落实《北京市医疗器械唯一标识工作质量提升方案》,根据实际,制定本指南。
二、适用范围
本指南可作为北京市医疗机构实施应用UDI的指导,旨在增强医疗机构对UDI相关知识的了解和掌握,为UDI实施应用提供实际操作指导。本指南不作为法规强制执行。
三、实施流程
(一)建立健全UDI实施团队
成立以医疗机构领导、相关医疗器械管理部门负责人组成UDI实施应用工作组:院级领导担任组长,医疗器械管理部门负责人担任副组长,实施应用工作组成员由医疗器械管理部门、医务、医保、护理、信息、财务等重点部门及重点临床使用科室相关人员参与。
(二)建立完善制度体系
结合本单位内部医疗器械管理相关管理制度和体系文件,补充和完善UDI实施应用的相关管理要求和条款,明确各有关部门工作目标和任务,组织学习UDI相关政策法规、标准及实施方案,开展对相关人员的培训,了解UDI实施应用的重要意义,研究确定UDI实施应用具体路径。
(三)实施步骤及相关匹配软件、硬件
1.调研本单位内部使用的医疗器械(包含但不限于医疗设备、医用耗材、体外诊断试剂等)UDI基础数据、UDI标识基本情况,调研各使用环节所需的软件功能情况,配置相关匹配硬件,如可识读UDI条码扫码枪、智能RFID耗材柜、条码打印机等情况。
2.改造或新建内部医疗器械信息管理系统,建立包含UDI基础数据信息的标准化字典;对接国家药监局UDI数据库及上游供应商UDI实施应用基础数据信息;实现不同包装层级的UDI编码的解析识读;实现UDI编码、医保医用耗材分类编码、省级阳光集采平台结算编码、内部HIS收费编码的“四码映射”。
3.修订和完善本单位内部新增准入或变更使用医疗器械UDI基础数据字典、院内HIS收费价格等基础数据字典信息变化的动态维护、更新的管理制度和流程。
4.建立本单位内部“医疗器械信息管理系统”与“HIS医嘱计费信息管理系统”、“智能设备RFID信息管理系统”、“移动医护信息管理系统”的基本数据信息互联互通的动态管理和内控机制。
5.实现进入本单位使用的医疗器械的信息流与验收入库的实物流的对应:扫描不同包装层级的实物UDI条码的自动识别;实现IWMS智能仓储管理系统条码自动识别的出入库精细化管理;实现验收入库时实时扫描单个包装、最小销售包装的实物UDI条码与相关信息管理系统内UDI编码匹配。
6.实现末端使用环节扫描最小使用包装UDI条码的HIS医嘱自动计费,“医疗器械信息管理系统”与“HIS医嘱计费信息管理系统”分别自动记录相匹配使用的医疗器械信息和患者信息,实现医疗器械UDI条码全流程追溯管理。
(四)实施质量管理与持续改进
1.确保本单位内部使用的医疗器械的UDI基础数据字典的标准化维护质量,确保本单位内部各相关信息管理系统的“四码映射”匹配效果和动态质量保证。
2.确保各厂家、供应商提供的医疗器械UDI条码(一维码、二维码、射频标签)外观清晰、可扫码识别、可实时解析、记录及提供合适数量的实物条码。
3.确保本单位内部使用的植介入或重点监管的医疗器械UDI与智能耗材柜RFID条码准确匹配。
4.必要时本单位内部配置标准UDI条码打印设备及智能耗材柜RFID条码匹配设备。
5.建立医疗器械UDI条码使用全过程各关键环节不良事件的追溯管理,运用PDCA管理工具,持续推进UDI实施应用工作,不断提升本单位医疗器械高质量管理水平。
(五)拓展应用
不断扩展和提升本单位内部医疗器械UDI实施应用工作的范围和深度,实现基于移动医护的医疗器械HIS医嘱执行和计费,扫描患者腕带条码、扫描普通低值医疗器械UDI条码和HIS中的对应医嘱相匹配,确保各品种品规的医疗器械准确计费和使用环节的精细化管理。
四、相关说明
(一)定义和缩略语
1.医疗器械唯一标识(UDI):基于标准创建的一系列由数字、字母和/或符号组成的代码,包括产品标识和生产标识,用于对医疗器械进行唯一性识别。
2.产品标识(UDI-DI):特定于某种规格型号和包装医疗器械的唯一性代码。
3.生产标识(UDI-PI):识别医疗器械生产过程相关数据的代码。
4.四码映射:医疗器械UDI编码、医保分类编码、省级阳光集采平台结算编码、HIS收费编码建立的映射关系。
5.RFID:无线射频识别即射频识别技术(Radio Frequency Identification,RFID)。
6.IWMS:智能仓库管理系统(Intelligent Warehouse Management System,IWMS)。
7.HIS:医院管理信息系统(Hospital Information System,HIS)
8.PDCA:管理循环法,其中,P(Plan)为计划;D(Do)为实施;C(Check)为检查;A(Act)为处理。
(二)实施流程图

延伸阅读:
相关推荐
CIO提供以下相关文库下载、合规服务以及线上培训课程学习。
E邀专家

2026-04-02
2026-04-01
2026-03-30
2026-03-30
2026-03-27