西艾欧认证
医药合规促进会
药企多
登录
/
注册
咨询热线:
400-003-0818
CIO首页
问答
文库
培训
服务
合规导向
合规专家
合规商城
关于CIO
合规导向首页
合规查查
观点
视点
专题
药监办事指南
医药合规研究
推荐专栏
合规查查
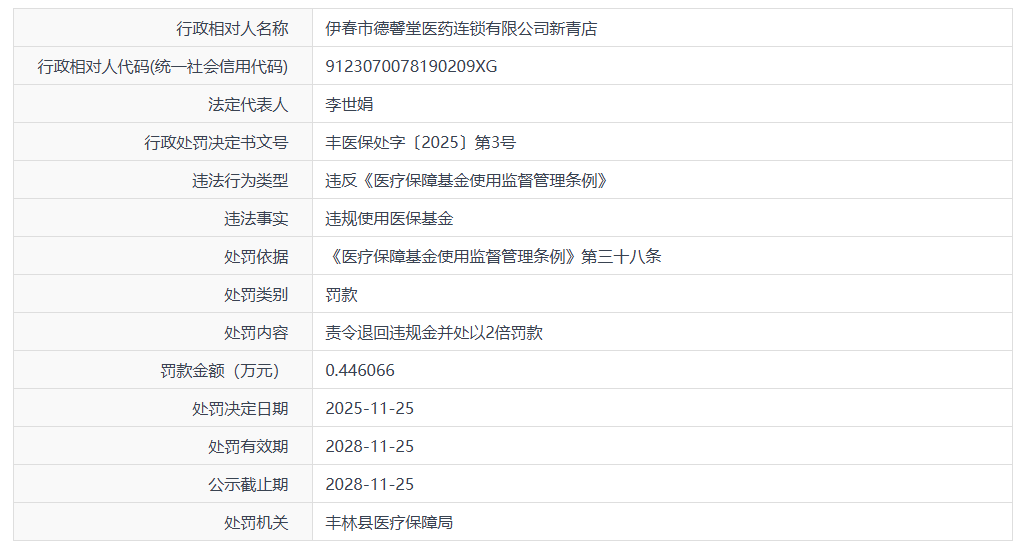
黑龙江伊春市德馨堂医药连锁有限公司新青店违规使用医保基金案【丰医保处字〔2025〕第3号】
黑龙江伊春市德馨堂医药连锁有限公司新青店违规使用医保基金案【丰医保处字〔2025〕第3号】
黑龙江省
发布日期:2025-11-26
阅读:152
CIO解读
量身解读
有疑问、问专家
提问
E邀专家
手机桌面放:
合规导向
小程序
法规同步、监管同频
最新推荐
黑龙江省哈尔滨市助康假肢矫形器有限公司未经许可、备案生产未注册、备案“脊柱矫正器”案(黑药监处罚〔2026〕执法局002号)
2026-04-23
黑龙江省药品监督管理局关于拟取消示提交年度报告国产普通化妆品备案的通告(通告 2026年第15号)
2026-04-20
黑龙江省药品监督管理局关于注销执业药师注册证的公告(公告 2026年第11号)
2026-04-15
黑龙江省药品监督管理局药品GMP符合性检查结果通告(2026年 第3号)
2026-04-03
黑龙江省药品监督管理局药品生产安全延伸检查(中药材GAP符合性)检查结果通告(2026年 第3号)
2026-03-24
热门服务
更多
立项评估/专题调研
差距性分析(评估)
保健食品注册/备案、变更
医疗器械注册/备案、变更
医疗器械生产许可申请/变更
化妆品注册/备案、变更
药品(国产/进口)注册、变更
特医食品注册、变更
原辅包注册/登记
药品上市许可持有人的B证申请
药品生产许可申请 / 变更(药厂筹建)
药品经营许可申请 / 变更
化妆品生产许可申请/变更
立项评估/专题调研
差距性分析(评估)
保健食品注册/备案、变更
医疗器械注册/备案、变更
医疗器械生产许可申请/变更
化妆品注册/备案、变更
分享
CIO解读
量身解读
解读
CIO解读
量身解读
在线咨询
项目投诉
平台投诉
建议/投诉
合规导向小程序
合规助手小程序
小程序
订阅号
关注“CIO在线”
掌握项目动态
关注我们
(获得通知)
回到顶部
请选择以下方式进行沟通
沟通留言
拨打电话