E邀专家

各区县(自治县)卫生健康委、两江新区社发局、重庆高新区公共服务局、万盛经开区卫生健康局,各委属医疗机构,大型企事业单位职工医院:
为贯彻落实《国务院办公厅关于促进“互联网+医疗健康”发展的意见》(国办发〔2018〕26号),规范我市互联网医院管理,提高医疗服务效率,保证医疗质量安全,促进互联网诊疗持续健康发展,市卫生健康委制定了《重庆市贯彻互联网医院管理办法实施细则》,现印发你们,请遵照执行。
重庆市卫生健康委员会
2023年12月25日
重庆市贯彻互联网医院管理办法实施细则
第一章 总 则
第一条 为落实《国务院办公厅关于促进“互联网+医疗健康”发展的意见》,规范和推进我市互联网诊疗持续健康发展,切实保障人民群众合法权益,依据《基本医疗卫生与健康促进法》《医师法》《医疗机构管理条例》《互联网医院管理办法(试行)》《互联网诊疗管理办法(试行)》《互联网诊疗监管细则(试行)》等法律法规的规定,结合我市实际,制定本细则。
第二条 本细则所称互联网医院包括作为实体医疗机构第二名称的互联网医院,以及依托实体医疗机构独立设置的互联网医院(基本标准见附录)。
第三条 本细则适用于重庆市内互联网医院的准入、执业规则及其诊疗活动和监督管理。
第四条 市卫生健康委负责建立重庆市互联网医疗服务监管平台,统筹对全市互联网医院进行监督管理。各区县卫生健康行政部门按照属地化原则负责互联网医院的日常监督管理。
第五条 互联网医院应接受社会公众的监督。任何组织和个人有权向各级卫生健康行政部门举报互联网医院的医疗服务违法违规行为。
第二章 准入规则
第六条 各级卫生健康行政部门按照《医疗机构管理条例》《医疗机构管理条例实施细则》《重庆市医疗机构管理条例》等规定,对互联网医院实行准入管理,互联网医院准入管理权限与所依托的实体医疗机构准入权限一致。
未经卫生健康行政部门批准,任何单位和个人不得从事互联网诊疗活动。
第七条 实体医疗机构自行或者与第三方机构合作搭建信息平台,使用在本机构和其他医疗机构注册的医师开展互联网诊疗活动的,应当将互联网医院作为实体医疗机构的第二名称。
新申请设置的实体医疗机构,可同时申请将互联网医院作为第二名称。
第三方机构可以依托实体医疗机构,申请独立设置互联网医院。实体医疗机构原则上只能与1家第三方机构合作申办独立法人的互联网医院,且不能再将互联网医院作为第二名称。
第八条 互联网医院的命名应当符合《医疗机构管理条例》《医疗机构管理条例实施细则》有关规定,同时满足以下要求:
(一)实体医疗机构独立申请互联网医院作为第二名称,应当包括“本机构名称+互联网医院”;
(二)实体医疗机构与第三方机构合作申请互联网医院作为第二名称,应当包括“本机构名称+合作方识别名称+互联网医院”;
(三)独立设置的互联网医院,名称应当包括“申请设置方识别名称+互联网医院”。
第九条 已取得《医疗机构执业许可证》的实体医疗机构拟建立互联网医院,并将互联网医院作为第二名称的,应向实体医疗机构执业登记机关申请变更登记,提交以下资料:
(一)医疗机构申请变更登记注册书(须在“申请变更登记理由”栏说明申请增加互联网医院作为第二名称的原因和理由);
(二)与重庆市互联网医疗服务监管平台对接情况;
(三)如与第三方机构合作建立互联网医院,应当提交合作协议;
(四)开展互联网诊疗活动的诊疗科目和医师名单目录;
(五)互联网医院医疗服务管理体系和相关管理制度、科室设置与人员岗位职责、服务流程;
(六)开展互联网医院要求的互联网技术设备设施、信息系统、技术人员以及第三级信息安全等级保护证明材料。
第十条 新申请设置的实体医疗机构拟将互联网医院作为第二名称的,按照以下要求办理。
(一)设置申请阶段
(1)与医疗机构设置申请同步进行,在设置申请书中注明拟将互联网医院作为第二名称,并在设置可行性研究报告中写明建立互联网医院的有关情况;
(2)如果与第三方机构合作建立互联网医院的应当提交合作协议。
(二)执业登记阶段
实行“两证合一”执业登记的医疗机构,拟将互联网医院作为第二名称的,直接在执业登记阶段提出申请。
(1)医疗机构申请执业登记注册书;
(2)与重庆市互联网医疗服务监管平台对接情况说明;
(3)医疗机构开展互联网诊疗活动的诊疗科目和医师名单目录;
(4)开展互联网医院要求建立的互联网医疗服务管理体系和相关管理制度、科室设置与人员岗位职责、服务流程;
(5)开展互联网医院要求的互联网技术设备设施、信息系统、技术人员以及第三级信息安全等级保护证明材料。
第十一条 依托实体医疗机构申请独立设置互联网医院,按照以下要求办理。
(一)设置申请阶段
(1)重庆市互联网医院设置申请书;
(2)设置可行性研究报告,可根据情况适当简化报告内容;
(3)所依托实体医疗机构的地址;
(4)申请设置方与实体医疗机构共同签署的合作建立互联网医院的协议书;
(5)提供符合《互联网医院基本标准(试行)》要求的各项佐证材料。
(二)执业登记阶段
(1)与重庆市互联网医疗服务监管平台对接情况说明;
(2)医疗机构开展互联网医疗服务的诊疗科目和医师名单目录;
(3)开展互联网医院要求建立的互联网医疗服务管理体系和相关管理制度、科室设置与人员岗位职责、服务流程;
(4)第三级信息安全等级保护证明材料。
第十二条 医疗机构按照《重庆市互联网医疗服务监管平台对接规范》,在重庆市互联网医疗服务监管平台开展数据对接,对接成功后,由平台自动出具对接情况说明。
第十三条 各级卫生健康行政部门依法依规对互联网医院登记申请材料进行审核。对符合条件的实体医疗机构建立的互联网医院,在其《医疗机构执业许可证》上登记核准的第二名称、服务方式和诊疗科目。
对新设置医疗机构申请将互联网医院作为第二名称,以及独立设置互联网医院审核合格的,核发《医疗机构执业许可证》。对不符合条件的,应以书面形式告知申请人。
第十四条 有以下情形的需重新申请设置登记互联网医院:
(一)申请人执业登记后,经核准的地点、依托的实体医疗机构、设置申请人等发生变更的;
(二)合作建立的互联网医院,合作方发生变更或出现其他合作协议失效的情况。
重新设置登记须将原监管平台信息注销后,重新接入。医疗机构的基础信息、线上医师、药师等信息需通过数字证书校验后方可在平台进行更新、维护。
第十五条 互联网医院应根据开展业务内容确定诊疗科目,但不得超过所依托的实体医疗机构诊疗科目范围。
第十六条 互联网医院《医疗机构执业许可证》变更、停业、延续注销等其他事项,按照《医疗机构管理条例实施细则》《重庆市医疗机构管理条例》等相关规定办理。
作为实体医疗机构第二名称的互联网医院,与该实体医疗机构同时校验;独立设置的互联网医院每年校验1次。
第三章 执业规则
第十七条 互联网医院开展互联网诊疗服务,必须遵守有关法律、法规、规章和诊疗技术规范、信息管理规范、职业道德规范。
互联网医院提供医疗服务应当符合分级诊疗相关规定,与依托的实体医疗机构功能定位相适应。鼓励三级医院通过互联网医院与偏远地区医疗机构、基层医疗卫生机构、全科医生与专科医生的数据资源共享,业务协同,推动构建有序的分级诊疗格局。
第十八条 互联网医院应按照《网络安全法》《网络安全等级保护条例》《互联网医院基本标准》等相关要求,配备满足互联网技术要求的设备设施、信息系统、技术人员。互联网医疗服务信息系统应实施第三级信息安全等级保护,并进行规范性测试。
第十九条 医疗机构应当严格执行信息安全和医疗数据保密的有关法律法规,妥善保管患者信息,不得买卖、泄露患者信息。发生患者信息和医疗数据泄露后,医疗机构应当及时向主管的卫生健康行政部门报告,并立即采取有效应对措施。
互联网医院信息系统应纳入重庆市“卫生健康云”监管服务体系,原则上采用专用线路接入监管平台,保障医疗相关数据传输服务质量与信息安全。存储医疗数据的服务器原则上应部署在重庆市内。
第二十条 互联网医院应按照规定做好下列信息的公开公示:
(一)核发的执业许可证、卫生技术人员依法执业注册基本情况和卫生技术人员提供诊疗服务时的身份标识;
(二)经卫生健康行政部门批准开展的诊疗科目;
(三)提供的诊疗服务项目、内容、流程情况;
(四)提供的诊疗服务方式及出诊医师信息;
(五)诊疗服务、常用药品和主要医用耗材的价格;
(六)医疗纠纷处理程序、医疗服务投诉信箱和投诉咨询电话;
(七)诊疗服务中的便民服务措施。
第二十一条 互联网医院应设专门部门和专人管理负责医疗质量、医疗安全、电子病历等管理,提供互联网医院信息系统维护等服务,及时核查处置监管平台反馈的异常信息。
第二十二条 在互联网医院提供诊疗服务的医师、护士须取得相应执业资质,且能够在国家医师、护士电子注册系统中查询并一致。医师应具有3年以上独立临床工作经验,应经其执业注册的医疗机构同意,在《医师执业证书》规定的执业类别和执业范围内开展互联网诊疗。
执业医师如在主执业机构以外的其他互联网医院开展互联网诊疗活动,应当按规定进行增加执业地点或备案。
医疗机构应当对开展互联网诊疗活动的医务人员建立考核机制,根据依法执业、医疗质量、医疗安全、医德医风、满意度等内容,进行考核并建立准入、退出机制。
第二十三条 医疗机构应对开展互联网诊疗活动的医务人员进行电子实名认证,确保具备合法资质和由本人提供诊疗服务。鼓励有条件的互联网医院合法合规依托人脸识别等人体特征识别技术加强医务人员和患者身份管理。
第三方机构依托实体医疗机构共同建立互联网医院的,应当为实体医疗机构提供医师、药师等专业人员服务和信息技术支持服务,通过协议、合同等方式明确责权利。
第二十四条 互联网医院开展互联网诊疗服务前,应向患者说明互联网医院、医师相关信息,充分告知互联网诊疗服务的相关规则、要求和存在的风险,取得患者同意后,方可开展诊疗服务。
第二十五条 医疗机构开展互联网诊疗活动应当严格遵守《处方管理办法》等处方管理规定。医师掌握患者病历资料后,可以为部分常见病、慢性病患者在线开具处方。
医院要建立互联网诊疗服务终止制度,当患者病情出现变化或存在其他不适宜在线诊疗服务的,需要医务人员当面诊查时,医师应当立即终止互联网诊疗活动,引导患者到实体医疗机构就诊。
互联网医院主要专业技术人员或关键设备、设施及其他辅助条件发生变化,不能满足互联网诊疗服务需要,或存在医疗质量和医疗安全隐患时,应立即停止服务,并及时主动向卫生健康行政部门报告。
第二十六条 互联网医院不得开展以下诊疗服务:
(一)首诊患者的诊疗服务;
(二)在互联网上开具麻醉药品、精神类药品处方以及其他用药风险较高、有其他特殊管理规定的药品处方;
(三)未掌握患者病历资料,不能确定患者在实体医疗机构明确诊断为某种或某几种常见病、慢性病;
(四)其他有关规定不适宜在线诊疗服务的。
第二十七条 互联网医院应当严格遵守《处方管理办法》《医疗机构药事管理规定》等相关规定,做好处方开具、调剂和管理等工作。在线开具的处方必须有医师电子签名,经药师审核后方可生效。处方应由接诊医师本人开具,严禁使用人工智能等自动生成处方,严禁在开具处方前,向患者提供药品,严禁以商业目的进行统方。
医疗机构、药品经营企业可委托符合条件的第三方机构配送。委托第三方机构配送的,要建立协作关系。
为低龄儿童(6岁以下)开具互联网儿童用药处方时,应当确定患儿有监护人和相关专业医师陪伴。
第二十八条 互联网医院开展互联网诊疗服务过程中所产生的文字、符号、图表、图形、数据、音频、视频等数字化信息,按照《医疗机构病历管理规定》《电子病历应用管理规范(试行)》等相关文件要求管理。病历信息应当与依托的实体医疗机构电子病历格式一致、系统共享,由依托的实体医疗机构开展线上线下一体化质控。
病历记录保存时间不得少于15年,诊疗中的图文对话、音视频资料等过程记录保存时间不得少于3年。
互联网医院变更名称后,病历等数据信息由变更后的互联网医院继续保管;注销后,由依托的实体医疗机构保管。
患者可以在线查询和下载检查检验结果和资料、诊断治疗方案、处方和医嘱等病历资料,具体要求、流程由医院自行制定。
第二十九条 互联网医院发生医疗服务不良事件和药品不良事件时,应立即暂停相关诊疗服务,组织院内相关人员开展调查,并按照《医疗质量安全事件报告暂行规定》上报。
第三十条 实体医疗机构或者与实体医疗机构共同申请互联网医院的第三方,应当为医师购买医疗责任保险,未购买医疗责任保险或者购买医疗责任保险超过有效期,医师不得从事互联网诊疗活动。
第三十一条 互联网医院应建立投诉应对处理机制,做好医疗纠纷处理程序、医疗服务投诉信箱和咨询电话的公示,在开展互联网诊疗过程中发生的医疗纠纷,应由辖区所在地卫生健康行政部门,按照《医疗纠纷预防和处理条例》等规定,积极妥善处置。
第三十二条 申请互联网诊疗的患者须进行网络实名制注册,注册信息包括患者基本信息、身份证号码、医保卡号、电子健康卡号或健康档案号等,不得假冒他人就诊。
患者应遵守医疗秩序和医疗机构有关就诊、治疗、检查的规定,如实提供与病情有关的信息,配合医务人员开展诊疗活动。
第四章 监督管理
第三十三条 独立设置的互联网医院,独立作为法律责任主体;实体医疗机构以互联网医院作为第二名称时,实体医疗机构为法律责任主体。互联网医院合作各方按照合作协议书承担相应法律责任。
互联网医院应加强内部管理,建立完善相关管理制度、服务流程,保证互联网诊疗活动全程留痕、可追溯。应当建立互联网医疗服务不良事件防范和处置流程,落实个人隐私信息保护措施,保证互联网医疗服务安全、有效、有序开展。
实体医疗机构应主动与重庆市互联网医疗服务监管平台对接,及时上传、更新《医疗机构执业许可证》等相关信息,主动接受监督。
第三十四条 各区县依托全市互联网医疗服务监管平台,对互联网医院实施监管,重点监管互联网医院的人员、处方、诊疗行为、患者隐私保护和信息安全等内容。
各区县应将互联网医院纳入当地医疗质量控制体系,相关服务纳入卫生健康行政部门对实体医疗机构的绩效考核和医疗机构评审,开展线上线下一体化监管,确保医疗质量和医疗安全。
市卫生健康委负责互联网医疗服务监管平台技术管理和运维,建立测试流程规范,由专人负责对接测试工作,并根据相关部门要求,对平台进行升级完善。
第三十五条 各区县应向社会公布辖区内互联网医院名单、监督电话或者其他监督方式,及时受理和处置违法违规互联网医疗服务的举报。设置投诉受理渠道,及时处置违法违规行为。
第三十六条 医疗机构和医务人员在开展互联网医疗服务过程中,有违反《医师法》《医疗机构管理条例》《医疗事故处理条例》《护士条例》等法律法规行为的,按照有关法律法规规定处理。
第三十七条 以欺骗手段取得《医疗机构执业许可证》或互联网诊疗服务资格的,市区两级卫生健康行政部门依法撤销执业登记或执业变更决定。
各区县卫生健康行政部门未按照《医疗机构管理条例》和本细则规定管理互联网医院及其诊疗活动的,市卫生健康委应及时予以纠正
第五章 附 则
第三十八条 医疗机构利用本机构注册的医师,通过互联网等信息技术开展部分常见病、慢性病复诊和“互联网+”家庭医生签约服务的,按照国家《互联网诊疗管理办法(试行)》管理。
第三十九条 医疗机构之间的远程医疗服务按照国家《远程医疗服务管理规范(试行)》等相关文件管理。
第四十条 医疗机构或非医疗机构运用信息化技术,只向患者提供诊疗活动以外的卫生保健信息服务,例如就诊导航、挂号预约、候诊提醒、报告查询、医生论坛、文献提供等,应按照国家有关规定执行,不在本细则管理范围。
第四十一条 本细则自发布之日起施行,重庆市互联网医疗服务监管平台对接规范另文下发。原《重庆市卫生健康委员会关于开展互联网医院试点工作的通知》(渝卫发〔2019〕49号)同时废止。
附录:1.重庆市互联网医院基本标准(试行)
2.重庆市互联网医疗服务监管平台对接流程图
3.重庆市互联网医院运行流程图
4.重庆市互联网医院行政审批流程图
附录1
重庆市互联网医院基本标准(试行)
申请设置互联网医院或者以互联网医院作为第二名称的,应当符合本标准。
一、诊疗科目
互联网医院根据开展业务内容确定诊疗科目,不得超出所依托的实体医疗机构诊疗科目范围。
二、科室设置
互联网医院根据开展业务内容设置相应临床科室,并与所依托的实体医疗机构临床科室保持一致。必须设置医疗质量管理部门、信息技术服务与管理部门、药学服务部门。
独立设置的互联网医院必须有本机构专门的信息技术服务与管理部门,不得挂靠于所依托的实体医疗机构。
三、人员要求
(一)互联网医院开设的临床科室,其对应的实体医疗机构临床科室至少有1名正高级、1名副高级职称的执业医师注册在本机构(可多点执业)。
(二)有专人负责互联网医院的医疗质量、医疗安全、电子病历的管理,提供互联网医院信息系统维护等技术服务,确保互联网医院系统稳定运行。
(三)有专职药师负责在线处方审核工作,确保业务时间至少有1名药师在岗审核处方。药师人力资源不足时,可通过合作方式,由具备资格的第三方机构药师进行处方审核。
(四)相关人员必须经过医疗卫生法律法规、医疗服务相关政策、各项规章制度、岗位职责、流程规范和应急预案的定期培训,确保其掌握服务流程,明确可能存在的风险。
四、房屋和设备设施
(一)用于互联网医院运行的服务器不少于2套,数据库服务器与应用系统服务器需划分。存放服务器的机房应当具备双路供电或紧急发电设施。
(二)拥有至少2套开展互联网医院业务的音视频通讯系统(含必要的软件系统和硬件设备),且需纳入全市统一的融合视讯平台。
(三)具备高速率高可靠的网络接入,业务使用的网络带宽不低于10Mbps,且至少由2家宽带网络供应商提供服务。
(四)建立数据访问控制信息系统,确保系统稳定和服务全程留痕,并与实体医疗机构的HIS、PACS/RIS、LIS系统实现数据交换与共享。每年应通过互联网医疗信息系统规范性测试。
(五)具备远程会诊、远程门诊、远程病理诊断、远程医学影像诊断和远程心电诊断等功能。
(六)信息系统实施第三级信息安全等级保护。
五、规章制度
建立互联网医疗服务管理体系和相关管理制度、人员岗位职责、服务流程。规章制度应当包括但不限于医疗机构依法执业自查制度、互联网诊疗相关的医疗质量和安全管理制度、医疗质量(安全)不良事件报告制度、互联网医疗服务管理制度、互联网医院信息系统使用管理制度、互联网医院信息安全制度、互联网医疗质量控制和评价制度、在线处方管理制度、患者知情同意与登记制度、在线医疗文书管理制度、在线复诊患者风险评估与突发状况预防处置制度、人员培训考核制度,停电、断网、设备故障、网络信息安全等突发事件的应急预案。
附录2
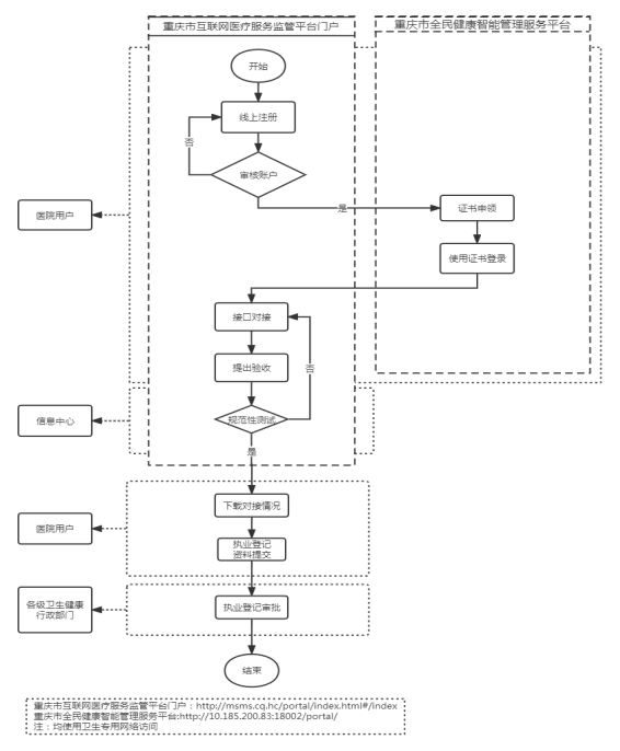
重庆市互联网医疗服务监管平台对接流程图

附录3
重庆市互联网医院运行流程图

附录4
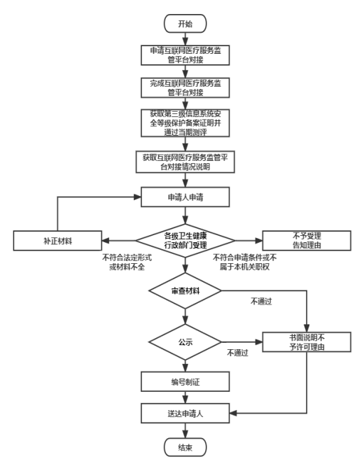
重庆市互联网医院行政审批流程图

相关推荐
CIO提供以下相关文库下载、合规服务以及线上培训课程学习。
E邀专家

2026-03-18
2026-03-10
2026-02-11
2026-01-23
2026-01-23