有疑问、问专家
提问
E邀专家
相关医药机构,相关企业:
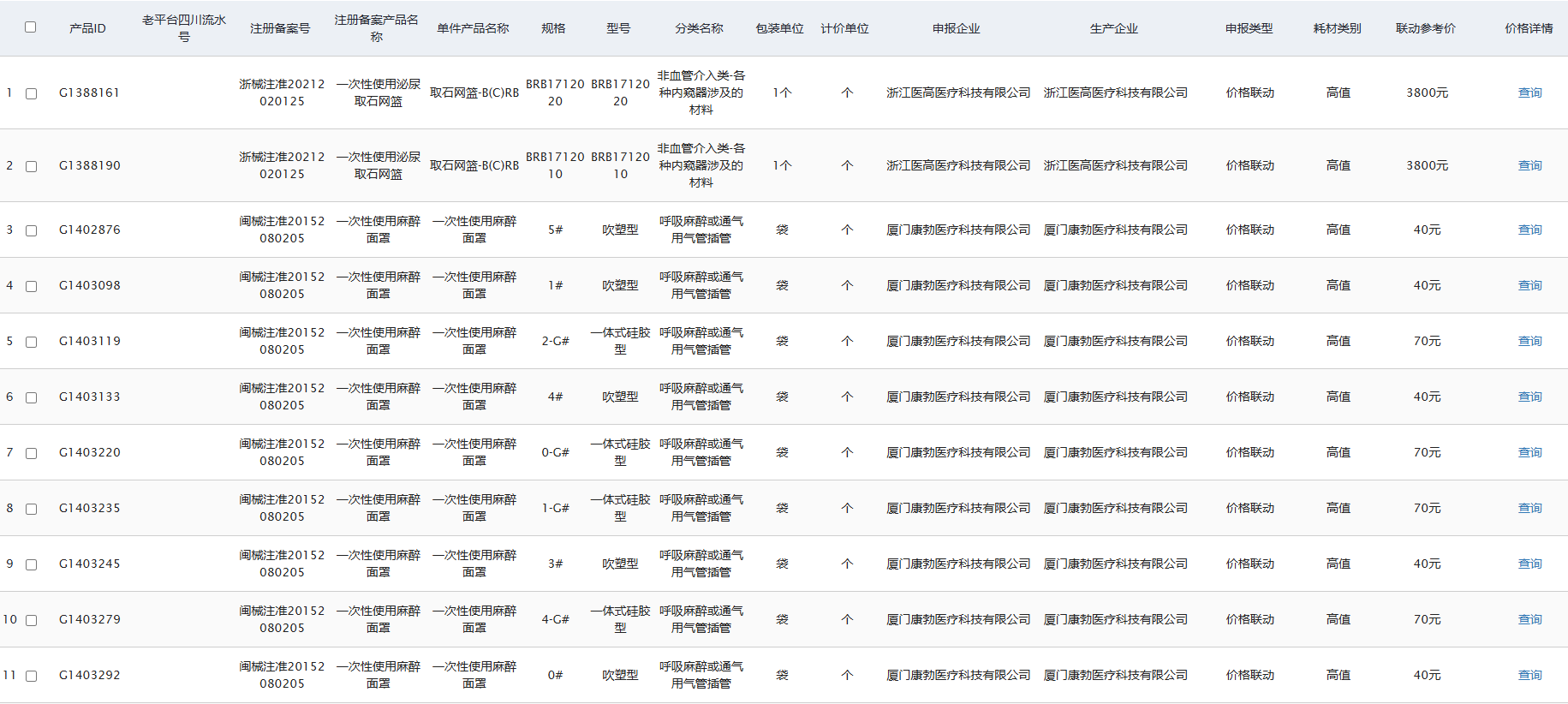
根据《关于公示2025年第四、五批医用耗材计算机校验异常产品整改情况的通知》(川药招〔2025〕268号)要求,现将公示无异议的相关医用耗材(含体外诊断试剂)产品予以公布挂网(详见附件),即日起正式执行挂网结果。相关产品将纳入医用耗材集中采购重点监测名单。
请相关申报企业以市(州)为单位对挂网产品勾选配送企业,为保障临床采购供应,原则上申报企业勾选的配送企业,其配送区域全部叠加后应覆盖全省所有医疗卫生机构。同时请相关配送企业对申报企业勾选的配送关系进行确认,相关医疗卫生机构及时在申报企业选定的配送企业范围内选择配送企业。
附件:

四川省药械招标采购服务中心
2025年11月13日
E邀专家
