西艾欧认证
医药合规促进会
药企多
登录
/
注册
免费热线:
400-003-0818
项目投诉
平台投诉
建议/投诉
请选择以下方式进行沟通
在线留言
拨打电话
CIO首页
问答
文库
培训
服务
合规导向
合规专家
合规商城
关于CIO
文库首页
单文档
专题
体系模板
注册模板
项目参考
监管文书
购物车
0
文库首页
监管文书
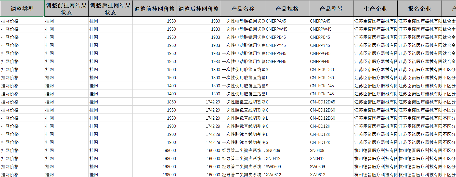
黑龙江省3月耗材降价产品列表
黑龙江省3月耗材降价产品列表
黑龙江省3月耗材降价产品列表
文书类别:医疗器械/目录表格/其他
文书页数:1页
更新时间:2026-03-12
应用地区:黑龙江省
下载文档
¥
0.00
暂无在线咨询配置
在线咨询
暂无媒体矩阵配置
媒体矩阵
回到顶部